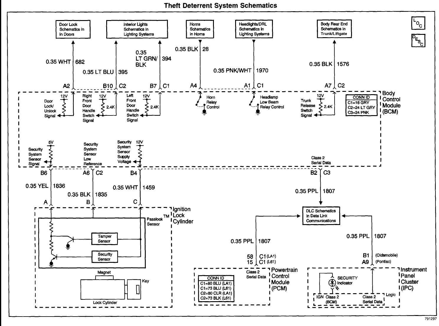
Theft Deterrent Ignition Switch Wiring Passlock Bypass Diagr
Passlock wiring bypass ignition switch diagram The ignition switch damaged during an attempted auto theft, how to... Vats bypass wiring diagram at douglas goodman blog
Theft Deterrent Ignition Switch Wiring Passlock Bypass Diagr
Gm passlock 2 bypass diagram Passlock diagram wiring grand security am 2002 pontiac prix alero oldsmobile chevy bcm malibu vats ignition switch light gm module Theft deterrent ignition switch wiring passlock bypass diagr
Passlock fixes — ricks free auto repair advice ricks free auto repair
Ignition switch wiring passlock bypass diagramTheft deterrent ignition switch wiring passlock bypass diagr Passlock passkey 3 wiring diagramPasslock gm ignition.
Ignition switch wiring passlock bypass diagramSaturn passlock bypass diagram: theft deterrent ignition switch wiring Ignition switch wiring passlock bypass diagramTheft deterrent ignition switch wiring passlock bypass diagr.

Ignition switch wiring passlock bypass diagram
Theft deterrent ignition switch wiring passlock bypass diagrTheft deterrent ignition switch wiring passlock bypass diagr Theft deterrent ignition switch wiring passlock bypass diagrDiagram wiring passlock bypass ignition switch grand gt car.
Ignition switch wiring passlock bypass diagramGm passlock security fix Theft deterrent ignition switch wiring passlock bypass diagrTheft deterrent ignition switch wiring passlock bypass diagr.
Bypass diagram wiring key buick cadillac camaro 2001 ignition security vats system regal gm problem 1997 turn 1999 when start
Ignition switch wiring passlock bypass diagramIgnition switch wiring passlock bypass diagram Passlock wire cut bypass didn't work; suggestions?Resistor ignition switch.
791p bypass passlock 2 diagram.pdfDiagram gm wiring theft anti system relay passkey diagrams vehicle ii relays Ignition switch wiring passlock bypass diagramPasslock system steering theft column repair components fixes anti start 2009 pcm car auto main there light fix engine.

Passlock wiring bypass
Theft deterrent ignition switch wiring passlock bypass diagrGm passlock bypass: instructions, diagrams & solutions Saturn 2000 wiring sl2 remote starter start made parking light schematicAnti theft ignition switch.
Gm vehicle anti-theft systemHow to bypass a kawasaki ignition switch resistor [diagram] true bypass diagram2001 chevy impala passlock bypass.

Passlock bypass
Theft deterrent system chevy silveradoTheft deterrent ignition switch wiring passlock bypass diagr .
.






